富士康:基于三菱MELSECNET/H網在IPAD電容屏自動檢測線的應用(2)
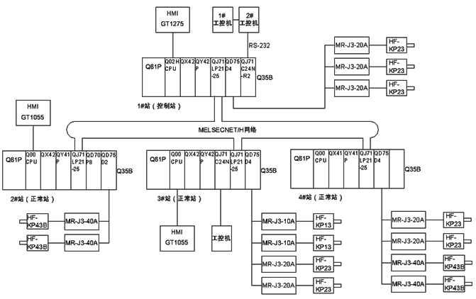
系統構成圖:

三.主要參數設置及編程:
MELSECNET/H系統參數設置:
1.硬件配置:設置管理站和普通站MELSECNET/H模塊QJ71LP21-25站號、波特率、模式;通過撥碼開關設置。
管理站站號:1
普通站站號:2(清洗干燥段)----3(電測段)----4(分揀單元)
管理站運行模式:0(在線)
普通站運行模式:0(在線)
2.軟件設置:通過設置GX-DEVELOPER軟件的網絡參數可對QJ71LP21-25各模塊進行初始化組態,包括起始I/O號、網絡號、從站數(僅控制站可設)、組號、模式、刷新參數等參數。
a.模塊起始I/0、連接站數、站號設置
(1)控制站設置
起始I/O:0080
網絡號:1
總連接站數:4
組號:0
模式:在線
(2)普通站設置
2#PLC 起始I/O:0060 3#PLC 起始I/O:0080 4#PLC 起始I/O:0040
網絡號:1 網絡號:1 網絡號:1
組號:0 組號:0 組號:0
模式:在線 模式:在線 模式:在線
B.刷新參數設置:
(1)設置控制站刷新參數
位刷新軟元件:鏈接繼電器LB0000-27FF對應B0000-27FF
字刷新軟元件:鏈接寄存器LW0000-27FF對應W0000-27FF
深圳市海藍機電設備有限公司(www.iotashow.com)專業經營:三菱變頻器、三菱PLC、三菱觸摸屏、三菱伺服電機等工控自動化產品的批發和代理工作,400-8819-130 大客戶:13823726967 吳經理
本文原創自:深圳海藍機電設備有限公司,轉載請注明出處:http://www.iotashow.com/article/77.html
富士康:基于三菱MELSECNET/H網在IPAD電容屏自動檢測線的應用(1)
富士康:基于三菱MELSECNET/H網在IPAD電容屏自動檢測線的應用(2)
富士康:基于三菱MELSECNET/H網在IPAD電容屏自動檢測線的應用(3)




評論信息